LillyAllenDesigns
Jasminsmagicworld
BarkalooDesign
Artiststas
AdoDesignShop
JahusDesignShop
BundleAndBundleShop
HRA Design Shop
FaDigitalArtStudio
Enoddigitalart@gmail.com
Afrowomandigitalshop@gmail.com
OliviaCreatesArt
CowGirlArtShop
HowdyJamesFarm
TumblerDesignByShophia
RanaPortraitStore
CTS Tumbler Store
Zillion Design Studio
NancyCooperArtShop
Texasbilliewilder
MaliasSmallBusiness
Muks_Shop
Rvexell
NReaL
Oittostudio
Nteklah
Melllux
PUBLICTEES
Gear_desain
Erdiyan
C
A unified language for anthropomorphic arm motion Semantic Scholar Very well made.
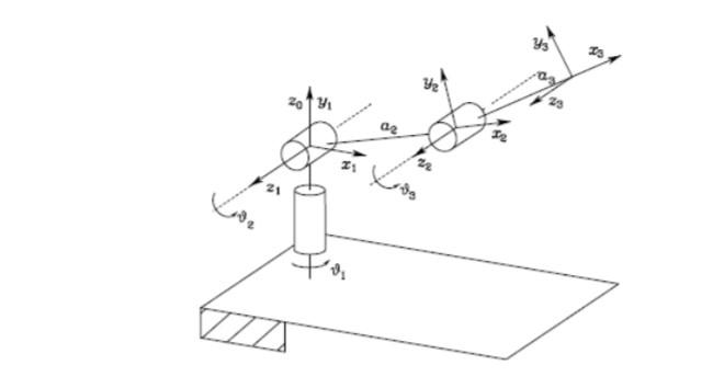
Consider the anthropomorphic arm shown in Chegg Very well made.
CAD model of the anthropomorphic arm. Download Scientific Diagram Very well made.
Hand Arm System ROBOTS Your Guide to the World of Robotics Very well made.
3D model of the new anthropomorphic robot arm The list of Very well made.